Did You Know Disney Has Been Awarded a Patent For Tracking Guests by Their Footwear?
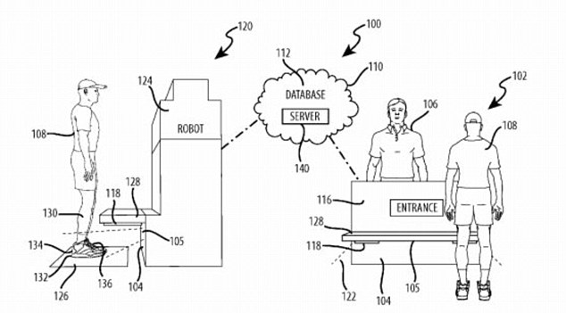
A patent filed in 2015 and just now awarded to Disney discusses the possibility of the company being able to track guests' movements around the theme park based on their footwear. As DailyMail reports, the technology involves the use of cameras and sensors to follow the paths of parkgoers.
[gallery td_select_gallery_slide="slide" ids="152432,152431,152430"]The first step in achieving this would be to have scanners at the entrances which would be built to blend into the park's decor. From there the system would be able to identify guests, note their paths, and provide customized experiences. The patent suggests that the guest's personal data (name, hometown, etc.) could also be attached.
It should be noted that the filing of a patent by no means ensures that this type of technology will be coming to the park. In fact, some may wonder why this system would be necessary since many of its functionalities are already being done through MagicBands and RFID. Still it's interesting to see what Disney is working on and how the park experience could change in the future.
