Disney Opens Applications for 2018 Disney Dreamers Academy Jun 30, 2017 1:41 pm (Pacific) Laughing Place Disney Newsdesk
Initial Candlelight Processional Narrators Announced for Epcot Jun 30, 2017 1:25 pm (Pacific) Laughing Place Disney Newsdesk
The Chew Returns for 2017 Epcot Food and Wine Festival Jun 30, 2017 12:02 am (Pacific) Laughing Place Disney Newsdesk
Disney Removing Wench Auction From Pirates of the Caribbean Jun 29, 2017 1:12 pm (Pacific) Laughing Place Disney Newsdesk
Four Seasons Orlando Launches Daycation Experience Jun 29, 2017 9:29 am (Pacific) Laughing Place Disney Newsdesk
Vice Retracts Stories on Trump in Hall of Presidents Jun 28, 2017 2:18 pm (Pacific) Laughing Place Disney Newsdesk
Magic Kingdom to Close at 6pm on Christmas Party Dates Jun 28, 2017 12:25 pm (Pacific) Laughing Place Disney Newsdesk
Disney Confirms Hall of Presidents Enhancements; Addresses Trump Rumors Jun 27, 2017 3:54 pm (Pacific) Laughing Place Disney Newsdesk
Animal Planet Airing Animal Kingdom Alive with Magic Special Jun 26, 2017 10:23 am (Pacific) Laughing Place Disney Newsdesk
Shanghai Disney Resort Highlights New Offerings to Cool Down During the Summer Months Jun 21, 2017 12:03 pm (Pacific) Laughing Place Disney Newsdesk
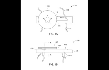
Disney Patents Tech That Allows You to Throw Captain America’s Shield Jun 19, 2017 8:21 pm (Pacific) Laughing Place Disney Newsdesk
Tom Sawyer’s Island Reopens Giving Glimpse into New Rivers of America Jun 16, 2017 1:38 pm (Pacific) Patricia Mannatt
Shanghai Disneyland Celebrates First Anniversary Announcing 11 Million Guests Jun 16, 2017 9:40 am (Pacific) Laughing Place Disney Newsdesk
Summer of Heroes Showcase Coming to Disneyland Resort with AP Preview Tonight Jun 15, 2017 12:35 pm (Pacific) Laughing Place Disney Newsdesk
Disney World to Create Tribute to Lane Thomas Graves; Boy Attacked by Gator Jun 13, 2017 8:09 pm (Pacific) Laughing Place Disney Newsdesk
Frozen in a Bottle Event to be Held at Disneyland Jun 13, 2017 2:28 pm (Pacific) Laughing Place Disney Newsdesk
Disney World Announces Holiday Dessert Parties; Appears to Drop Parade Viewing Jun 13, 2017 9:52 am (Pacific) Laughing Place Disney Newsdesk
Correction: Back of Cars Land Remains Unchanged; City Council Made Request Jun 11, 2017 10:48 am (Pacific) Laughing Place Disney Newsdesk
Flying Feces Impacts Disneyland Guests Jun 09, 2017 11:10 pm (Pacific) Laughing Place Disney Newsdesk
Ways to Celebrate Father’s Day at Disney Springs Jun 09, 2017 11:28 am (Pacific) Laughing Place Disney Newsdesk