Disney Files New Patent That Could Streamline and Improve Safety Checks at Disney Parks
Through the use of video analyzing and AI, this new system could help speed up load times at various attractions if implemented.
A new patent filed by Disney could see the way safety checks are conducted on attractions at Disney Parks be updated and streamlined.
What's Happening:
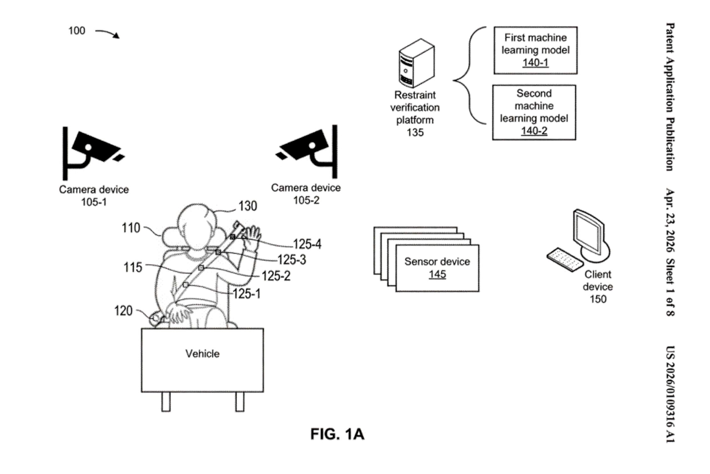
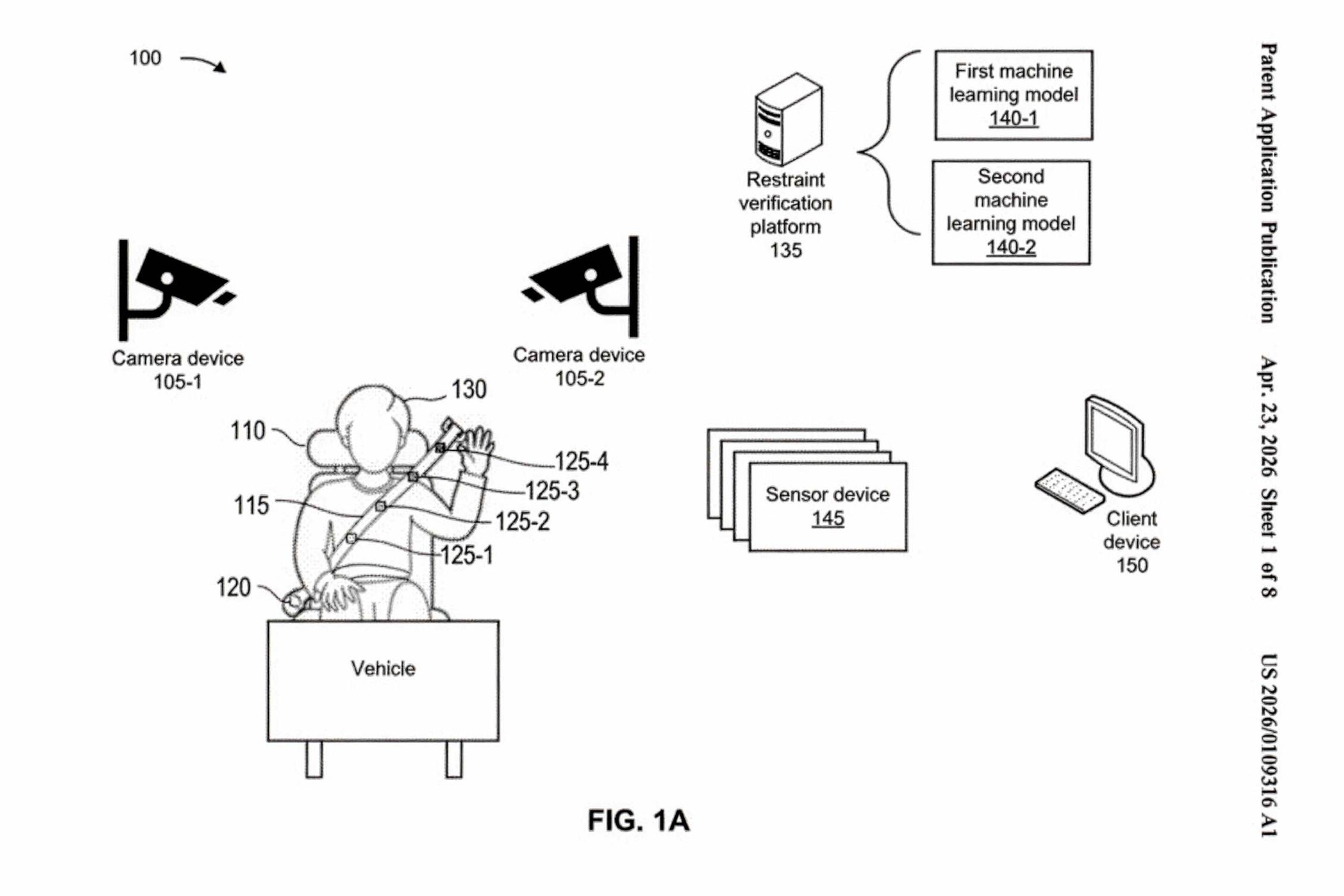
- According to WDW Magic, Disney has filed a new patent for a system that uses cameras and machine learning to automatically verify that ride restraints are properly secured before a vehicle dispatches.
- If implemented in theme parks, this patent could significantly improve ride dispatch times and overall attraction throughput.
- The system would rely on video cameras paired with machine learning to determine whether restraints—such as seat belts, lap bars, or over-the-shoulder harnesses—are properly secured before dispatch.
- It operates by continuously recording each seat during the loading process, with a verification platform analyzing the footage using multiple trained models.
- These models are designed to assess:
- Passenger body position and size
- The specific type of restraint in use
- Whether the restraint is correctly fastened
- The technology may also catch misuse that operators could overlook, such as guests sitting on top of a seat belt or extending a belt beyond its safe limit.
- In addition to video analysis, the system would integrate data from other sensors, including:
- Seat sensors to confirm a guest is seated
- Clasp sensors to verify restraints are locked
- Rotary encoders to measure how much seat belt has been extended
- A similar system was used onboard the now extinct DINOSAUR at Disney's Animal Kingdom, where cameras on the back of the ride vehicle allowed cast members to see guests seatbelts buckled without having to climb onboard.
More Disney Parks News:
- More new Bluey merchandise is arriving at Disneyland, Walt Disney World, and Disney Store, bringing Bluey and Bingo into the parks and beyond!
- A classic piece of Disney dating back to the 1920s is being recreated in the new Walt Disney Studios Courtyard at Disney's Hollywood Studios.
- As Rock 'n' Roller Coaster prepares for the imminent arrival of The Muppets, the attraction building and surrounding courtyard has gotten a new grey look.
- Items making use of the old cast member costumes for Space Mountain at Tokyo Disneyland will soon be available to purchase.
Laughing Place recommends MouseFanTravel.com for all your Disney travel planning
Fill out the form below for a free, no obligation quote from MouseFanTravel.com


